
Описание:
|
Наименование оборудования |
Ультразвуковая моечная машина |
|
|
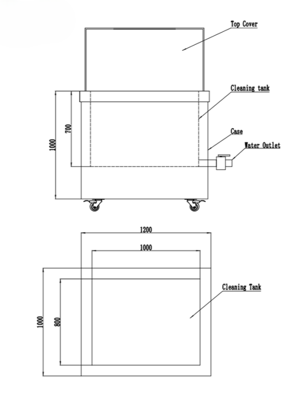
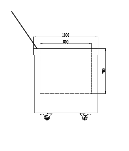
Размер рабочей ванны |
Длина × Ширина × Высота |
1000 мм × 800 мм × 700 мм |
|
1 |
Количество комплектов |
1 шт. |
|
2 |
Рабочая ванна |
Материал: SUS304, толщина: 2,5 мм |
|
3 |
Внешний корпус |
Материал: SUS201, толщина: 1,2 мм |
|
4 |
Верхняя крышка |
Материал: SUS201, толщина: 1,2 мм |
|
5 |
Моечная корзина (решётка) |
Материал: SUS304 |
|
6 |
Объём рабочей ванны |
560 л |
|
7 |
Суммарная ультразвуковая мощность |
7200 Вт |
|
8 |
Количество ультразвуковых преобразователей |
120 шт. |
|
9 |
Рабочая частота ультразвука |
28 кГц |
|
10 |
Рабочее напряжение ультразвуковой системы |
220 В / 50 Гц / 1 фаза |
|
11 |
Мощность нагрева |
12 кВт |
|
12 |
Рабочее напряжение системы нагрева |
380 В / 50 Гц / 3 фазы |

В стоимость не включены пуско-наладочные работы.